今日,#章泽天净资产600亿#
相关话题冲上微博热搜第一!

胡润研究院近日最新发布的《胡润校友会榜》中,清华和浙大校友各32人登上50亿财富门槛的胡润百富榜,并列第一。而在清华大学上榜校友的名单中,章泽天在列,以净资产600亿的身家在清华优秀校友中排行第三。(此前报道>>章泽天净资产600亿登胡润财富榜)
对此,1月9日,胡润百富微信公号在“校友会榜发布”一文下留言称:“文中的财富数字来源于《2023胡润百富榜》,若百富榜上是以家族或夫妇名义上榜,则该财富数字为家族或夫妇财富,例如清华校友章泽天,600亿元财富为刘强东、章泽天夫妇的财富。”

据该份榜单,在中国人民大学上榜校友名单中,刘强东以600亿元排第一。

另据此前发布的《2023衡昌烧坊·胡润百富榜》显示,刘强东、章泽天夫妇以600亿财富,排在第66位。

图片来源于章泽天微博。
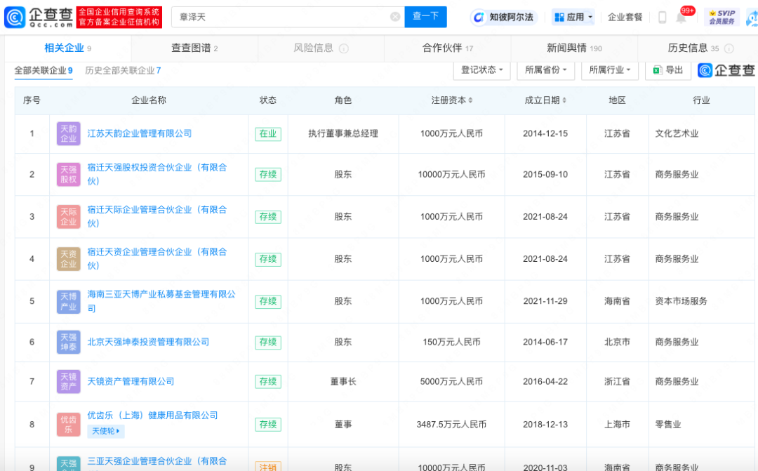
据企查查APP显示,章泽天关联9家公司,8家为存续状态,多担任股东、董事长等职务,行业涉及文化艺术、资本市场服务等。

值得关注的是,章泽天3家公司与刘强东存在商业关联,其中宿迁天强股权投资合伙企业(有限合伙)注册资本达1亿元,刘强东、章泽天分别持股89.01%、9.99%。

(综合自胡润百富、新黄河、企查查、观察者网)
编辑 黄小菊 审读 张蕾 二审 郑蔚珩 三审 刘思敏















