近日,记者从多处知情人士获悉,“鼎益丰”关键人物马小秋正在逐步退出权力中心。深圳市马氏盛族产业控股(集团)有限公司已于11月6日注销,她在该公司担任董事长。马小秋系鼎益丰创始人,曾任鼎益丰集团总裁,之前和隋广义等人一起成立了众多以“鼎益丰”命名的企业主体。隋广义在11月5日鼎益丰旗下元鼎集团开办的“元鼎国际全球文创生活发布盛典”中露面,而作为隋的“老搭档”,大会上并未出现马小秋的身影。

马小秋何许人也?
2011年,马小秋与隋广义共同联手成立了鼎益丰集团,隋出任董事局主席,马则为总裁,二人均为公司核心人物。如果说隋广义的“人设”是仙风道骨、超脱凡尘的“玄学投资”大师,那么马小秋则是学富五车、具有敏锐商业头脑的女企业家,后者时常代表鼎益丰出席各种论坛、会议。
在百度词条里,她是深圳市马氏盛族产业控股(集团)有限公司董事长、富汇国际(HK.01034)董事会主席、万马控股(HK.06928)董事会主席及执行董事、恒富控股(00643.HK)董事会主席及执行董事、富汇国际教育校长、海南富艺互联网服务有限公司总经理、深圳市命之源健康管理股份有限公司董事长、深圳市企业家协会常务副会长等。此外,她还是慈善家、畅销书作家、音乐唱作人、电影人。
鼎益丰的宣传文章、视频多次出现马小秋与精英人士的合影,此前还传出她具有政界以及军方背景。这些非富即贵的身份让投资者对马小秋的社会地位深信不疑,成为鼎益丰发给投资者的“定心丸”。
今年2月,马小秋辞去了港股上市公司鼎益丰控股的所有职务,包括非执行董事、董事会主席及董事会辖下之投资者关系委员会成员,同时也卸任了鼎益丰名下很多公司的高管职位和法定代表人,包括深圳市丰源芯科技产业控股有限公司、海南富艺互联网服务有限公司、深圳天成铭道医学科技股份有限公司等。截至今年年中,隋广义持有上市公司鼎益丰控股22.26%的股份,马小秋持有股份占比13.36%。
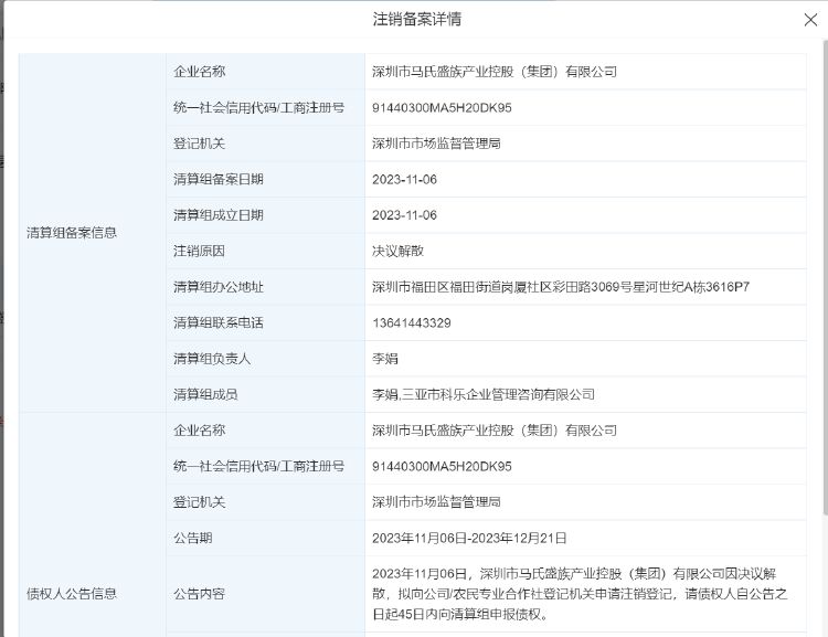
年中开始传出隋马二人不合的消息,马小秋与鼎益丰捆绑宣传的链接也被大量下架,疑似因马小秋卷走投资款有关,其核心公司马氏盛族产业控股(集团)有限公司申请注销登记。值得注意的是,和以往的高调亮相不同,马小秋本人近日在公开场合处于“消失”状态。
编造新花样
记者此前的报道已经讲述过鼎益丰如何通过“玄学”洗脑投资者购买“空壳”原始股,梳理了鼎益丰的过往投资布局,也揭露了鼎益丰教唆业务员通过发展下线、转接合同来解决退款危机的“接盘”方案。据近日观察,鼎益丰又研究出了新的圈钱路径。
11月5日,鼎益丰旗下公司元鼎集团在深圳宝安体育馆召开了的“元鼎国际全球文创生活发布盛典”,现场聚集了近5000人。“大师”隋广义在“信徒”们的簇拥下进场,掌声雷动。

隋广义在活动上演讲
除了发布一些“天人”学说之外,公司还在现场表示发力文创产业,文创模式要在全球推广,开创十万家文创公司。隋广义称今后将会有几百家上市公司,筹备“未来科学研究院”,研究量子纠缠、高维信息,共建世界大同等“离奇”愿景。正在寻求退股的投资人表示,隋广义的话永远都是空话,具体怎么做毫无逻辑支撑。
据悉,鼎益丰现设九大部门,分别是元丰、元汇、元鼎、元亨、嘉鼎、紫汇、紫华、奇轮、鼎新。各部门旗下又有多家子、孙公司,包含石墨烯、生物医药、文创、元宇宙等等业务,蹭热点吸引投资的方式层出不穷。比如元亨推出的“龙狮谷生命肽”的产品,自称有隋广义的愿力和混元能量,有益人体健康,购买该产品同时可免费获得股份,享受投资分红。“他们内部认为卖‘股份合同’的可信度降低了,所以开始卖实物,这样可以规避金融风险。”知情人士这样解释。

分红逾期的投资者前往公司维权
多名投资人向记者控诉:“9月的分红还没给,业务员推脱说银行限额。”据了解,鼎益丰九大部门中已经有五个部门出现分红延期的情况,越来越多投资人前来鼎益丰总部要求退款。“深圳经侦”公众号里的“投资人信息登记”板块中已经添加了“深圳鼎益丰基金投资管理有限公司”,大批逾期分红的投资者已经做了登记。近期,鼎益丰“维权群”的新人又多了一批,但鼎益丰的“饥饿营销”还在继续。

编辑 刘悦凌 审读 韩绍俊 二审 张玉洁 三审 张露锋















